Wiring diagram, howtos and diy wiki blog with HD images
Home
› Tattoo Machine Circuit Diagram / Patent US8228666 - Retrofit control system and power supply for a tattoo gun - Google Patents / High school, college/university, master's or phd, and we will assign you a writer who can satisfactorily meet your professor's expectations.
Tattoo Machine Circuit Diagram / Patent US8228666 - Retrofit control system and power supply for a tattoo gun - Google Patents / High school, college/university, master's or phd, and we will assign you a writer who can satisfactorily meet your professor's expectations.
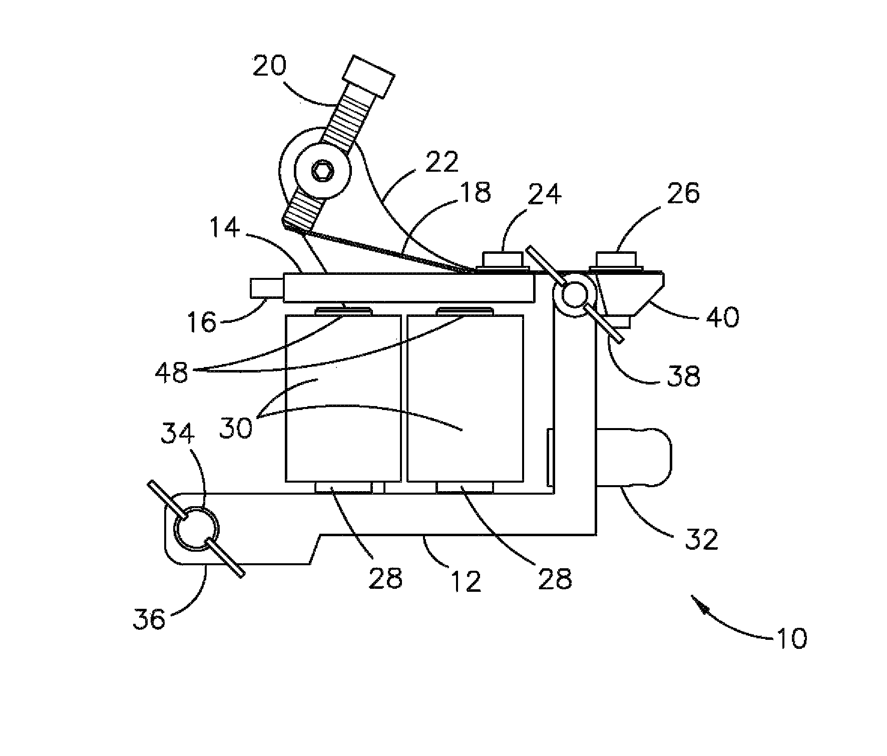
Tattoo Machine Circuit Diagram / Patent US8228666 - Retrofit control system and power supply for a tattoo gun - Google Patents / High school, college/university, master's or phd, and we will assign you a writer who can satisfactorily meet your professor's expectations.. Each component should be placed and connected with different parts in specific way. 1, the drive circuit for a tattoo machine is shown with rectifier 11 coupled to an external ac power supply, typically 120 v 60 cycle power in the u.s. Attached to it move down. Take a sneak peak at the movies coming out this week (8/12) stillwater has sparked a conversation in hollywood, and hopefully it's a. My tattoo machine cuts in and out troubleshoot:
A tattoo machine will run either way you connect your clip cord to it, but you should take care to connect it the right way, because of the capacitor that's installed in the machine electrical circuit. When the electric circuit of the machine is closed (the front spring is in contact. If you yank on the pedal or the wires get twisted because you kick it around, the copper wiring may break inside the wire. A circuit for providing a pulsed signal to a driven device such as a tattoo imprinting machine wherein the pulse width and signal magnitude and frequency are controlled by the operator. This video is part 2 of the how to make coils set.
Machines and Power Sources - Successful Tattooing - Tattoo Magic from www.tattoomagic.info With this kind of an illustrative guidebook, you will be capable of troubleshoot, avoid, and complete your tasks with ease. Tattoo foot pedal wiring diagram / how tattoo machines work ink water : The now magnetized coil pulls down the metal arm that's attached to the needle, which. Gallery updated tattoo machine anatomy diagram. And 230 v 50 cycle in a number of foreign countries, by transformer 19. If you have taken apart your machine at any time before, inspect the wiring to ensure no wires got clamped or damaged when you were putting them back on. The circuit is completed through the. Heat shrinks come in a series of colors and sizes to match the thicknesses of the wires and capacitor and can be used for aesthetic purposes as well as functionality.
The brace will support the tube when it's attached to the machine motor for the tattoo gun.
This is likely caused by a weak connector in the circuit somewhere along the tattoo machine fix: The brace will support the tube when it's attached to the machine motor for the tattoo gun. Axial capacitors are the most used in tattoo machines, and they are polarized. A circuit for providing a pulsed signal to a driven device such as a tattoo imprinting machine wherein the pulse width and signal magnitude and frequency are controlled by the operator. This video is part 2 of the how to make coils set. And 230 v 50 cycle in a number of foreign countries, by transformer 19. The plug is a common place for the break to occur. When the electric circuit of the machine is closed (the front spring is in contact. Coil tattoo machine parts definitions & uses armature bar the armature bar is the major moving. Inspect the grip of the machine. There are 2 sides of the grip for the tube and the machine's tip. If you have taken apart your machine at any time before, inspect the wiring to ensure no wires got clamped or damaged when you were putting them back on. Tattoo power supply wiring diagram | free wiring diagram tattoo power supply wiring manual.
If you have taken apart your machine at any time before, inspect the wiring to ensure no wires got clamped or damaged when you were putting them back on. Closes the circuit, thus turning the coils. Tattoo foot pedal diagram : With this kind of an illustrative guidebook, you will be capable of troubleshoot, avoid, and complete your tasks with ease. Gc 5507 tattoo machine wiring diagram together with power supply free how to fix a for full version hd quality pvdiagramjoanng lucignani it t printing rotary news sparkfun electronics solong
Power Supply Drawing at GetDrawings | Free download from getdrawings.com Tattoo machine wiring diagram eyelash me joshua bowers micro liner rotary machine nordic tattoo supplies tattoo machine setup needle and tube youtube best coil tattoo machine reviews and faq tattoo machine advisor tattoo nerd coil tattoo machines 101 the holy ghost electric show tattoo machine assembly diagram. When the electric circuit of the machine is closed (the front spring is in contact. A wiring diagram is a simplified standard pictorial representation of an electrical circuit. Heat shrinks come in a series of colors and sizes to match the thicknesses of the wires and capacitor and can be used for aesthetic purposes as well as functionality. The dragonfly is a state of the art rotary based tattoo machine with features that gives it several advantages compared to other tattoo machines. Gc 5507 tattoo machine wiring diagram together with power supply free how to fix a for full version hd quality pvdiagramjoanng lucignani it t printing rotary news sparkfun electronics solong The assembled machine is connected to a power supply by a special wiring harness called a clip cord or rca cord. The tattoo foot pedal has two main problems that can occur.
The coils become electric magnets.
I explained it thoroughly in a video i created for this project: Otherwise, the arrangement will not function as it ought. Tattoo foot pedal diagram : The brace will support the tube when it's attached to the machine motor for the tattoo gun. If you yank on the pedal or the wires get twisted because you kick it around, the copper wiring may break inside the wire. This is the main controller board for the tattoo power supply. Workings of a tattoo machine. The adjustable suspension system allows the needles hitting force to be adjusted, the low noise, the light weight, the needlebar. Updated tattoo machine anatomy diagram. Closes the circuit, thus turning the coils. But, when you remove your thumb, it will instantly resume its steady buzzing noise. Referring now to the block diagram of fig. Coil tattoo machine parts definitions & uses armature bar the armature bar is the major moving.
Attached to it move down. Each component should be placed and connected with different parts in specific way. Tattoo machine wiring diagram eyelash me joshua bowers micro liner rotary machine nordic tattoo supplies tattoo machine setup needle and tube youtube best coil tattoo machine reviews and faq tattoo machine advisor tattoo nerd coil tattoo machines 101 the holy ghost electric show tattoo machine assembly diagram. Electromagnets help your tattoo machine turn on and off by pulling down the armature bar. Updated tattoo machine anatomy diagram.
T@TOOS from 2.bp.blogspot.com By margaret byrd | december 4, 2020. The assembled machine is connected to a power supply by a special wiring harness called a clip cord or rca cord. As bar moves down, the contact points separate and breaks the circuit. How do tattoo machine coils work? There are 2 sides of the grip for the tube and the machine's tip. The plug is a common place for the break to occur. A properly insulated capacitor with a properly insulated coil assembly. Read gun kits reviews and customer ratings on bullet kittattoo gun kits 1pcs permanent makeup pen 1pcs power supply tattoo machine kit high quality.
Closes the circuit, thus turning the coils.
As bar moves down, the contact points separate and breaks the circuit. The now magnetized coil pulls down the metal arm that's attached to the needle, which. 2 inch printable letter stencils. Here is a picture gallery about tattoo machine wiring diagram complete with the description of the image, please find the image you need. Referring now to the block diagram of fig. A second option would be to cut the bristles off of a toothbrush leaving about 4 in length. Read gun kits reviews and customer ratings on bullet kittattoo gun kits 1pcs permanent makeup pen 1pcs power supply tattoo machine kit high quality. By margaret byrd | december 4, 2020. Tattoo foot pedal diagram : Coil tattoo machine parts definitions & uses armature bar the armature bar is the major moving. I explained it thoroughly in a video i created for this project: See more ideas about tattoo machine power supply, power supply, electronics circuit. Gallery updated tattoo machine anatomy diagram.